

石膏(gao)是(shi)硫酸(suan)鹽礦物質,其化學分子式為 CaSO4·2H2O,在自(zi)然界中呈亞穩定狀態,在一定條件下能進行可逆反應(ying)。在不同條件下煅燒獲得的(de)(de)產物具(ju)有不同的(de)(de)特征。一般工業生產中常見的(de)(de)石膏脫水轉化(hua)溫度見圖 1。

圖 1 石膏脫水工藝流程
生產中(zhong)應注意(yi)的是,當(dang)溫度(du)(du)提高、脫水(shui)速度(du)(du)加快(kuai)時,在(zai)石(shi)(shi)膏這個(ge)不良的熱導體(ti)中(zhong),常(chang)造成(cheng)溫度(du)(du)表里不一(yi),很容易形成(cheng)多(duo)相(xiang)混合物(wu)。因此,在(zai)熟石(shi)(shi)膏制(zhi)備過程中(zhong),不能忽視物(wu)相(xiang)組成(cheng)分析,只有(you)采(cai)取合理的煅燒(shao)制度和工(gong)藝措施,才能保證產(chan)品的質量。在一定(ding)條件下,通過煅燒(shao)天然石膏或化(hua)學石膏得到的 β— 半水石(shi)(shi)(shi)膏(gao)(gao)是制(zhi)作紙面(mian)石(shi)(shi)(shi)膏(gao)(gao)板、纖維石(shi)(shi)(shi)膏(gao)(gao)板、石(shi)(shi)(shi)膏(gao)(gao)砌塊和石(shi)(shi)(shi)膏(gao)(gao)裝飾天(tian)花板(ban)的主要原料[1]。其石膏煅燒中(zhong)的化學反應式(shi)為:
CaSO·4 2H2O=CaSO·4 1/2H2O+3/2H2O- Q
Q=580.2 kJ/kg
石膏(gao)煅燒脫水一般要經過預熱階段(25~95 ℃)、恒(heng)速脫水(shui)階(jie)段(107~130 ℃)和快速脫水階段(duan)(130~170 ℃)。原(yuan)料(liao)石膏粉從(cong)物料(liao)升溫、較長(chang)時間地(di)穩定脫(tuo)水和最后的(de)快(kuai)速(su)脫(tuo)水到達需要的(de)脫水相,所(suo)需時間(jian)因煅燒設備而異。回轉窯、間(jian)歇(xie)式炒鍋和沸騰(teng)爐的煅燒(shao)時(shi)間與溫度的關系曲線見圖 2、圖 3、圖(tu) 4。


圖 4 沸(fei)騰爐的(de)煅燒時間—溫度曲線
目前,國(guo)內(nei)石膏的煅(duan)燒有(you)很(hen)多種方式。按(an)照原料(liao)的粒度可以(yi)分為粉狀(zhuang)(zhuang)(zhuang)煅燒(shao)和(he)塊狀(zhuang)(zhuang)(zhuang)煅燒(shao)。粉磨后(hou)的石(shi)膏粉煅燒(shao)為粉狀(zhuang)(zhuang)(zhuang)煅(duan)燒,煅(duan)燒后(hou)再粉磨為塊(kuai)狀煅(duan)燒。按照煅(duan)燒介質(zhi)與(yu)物料(liao)的接觸可以分(fen)為直接加(jia)熱煅(duan)(duan)燒(shao)和間接加(jia)熱煅(duan)(duan)燒(shao)。按(an)照石膏與加(jia)熱介質(zhi)的走向可以分(fen)為順流(liu)煅(duan)(duan)燒(shao)和逆流(liu)煅(duan)(duan)燒(shao)以及錯流(liu)煅(duan)(duan)燒(shao),石膏與加(jia)熱介質流向一致為順流煅(duan)燒,相反為逆(ni)流煅(duan)燒,相互垂(chui)直為錯(cuo)流煅(duan)燒 [3]。國(guo)內(nei)用于石膏煅燒(shao)的(de)設備主要有流態化煅燒(shao)爐、炒(chao)鍋、回轉窯、彼得磨、高溫氣流煅(duan)(duan)燒機(ji)等。國(guo)內幾種煅(duan)(duan)燒工藝設備的能耗情(qing)況對比見(jian)表 1。
常用的幾種煅燒(shao)設備介紹如(ru)下。

1.1 流態化煅燒爐(lu)
生產(chan)中流(liu)態化(hua)煅燒爐是利用流(liu)態化(hua)技術原(yuan)理進行工作, 氣(qi)流與(yu)物料直接接觸,具(ju)有(you)換(huan)熱效率較(jiao)高,設備(bei)比較(jiao)緊(jin)湊(cou),占地面積(ji)較小(xiao),初投資較小(xiao)等諸(zhu)多優(you)點。缺點是(shi)設備本(ben)身對進料的(de)狀態、粒級分布和水分要求比較嚴格,控制不(bu)當(dang),容易造(zao)成(cheng)騰涌(yong)、溝流(liu)、結塊等流(liu)態化惡(e)化現象,嚴重時會板結、死床,影(ying)響生(sheng)產的連(lian)續穩定運行[4]。
1.1 炒鍋
炒(chao)(chao)(chao)(chao)鍋(guo)(guo)以(yi)高溫煙氣為熱源,煙氣與物(wu)料間接換(huan)熱。煅燒石膏(gao)(gao)(gao)物(wu)料溫度(du)(du)(du)比(bi)較容易控制,具有(you)煅燒產品比(bi)較均(jun)勻的(de)特點(dian)。它(ta)要求石膏(gao)(gao)(gao)原(yuan)(yuan)料的(de)細度(du)(du)(du)必須(xu)達到最終產品的(de)細度(du)(du)(du)。必須(xu)保(bao)證石膏(gao)(gao)(gao)粉料在(zai)達到一次沸騰(teng)時保(bao)持流態化,否(fou)則炒(chao)(chao)(chao)(chao)鍋(guo)(guo)內(nei)部會(hui)出現脫水速度(du)(du)(du)不(bu)均(jun)一的(de)情況(kuang)。影響炒(chao)(chao)(chao)(chao)鍋(guo)(guo)傳熱效(xiao)率的(de)因素有(you):炒(chao)(chao)(chao)(chao)鍋(guo)(guo)有(you)效(xiao)換(huan)熱面積、攪拌(ban)轉(zhuan)速和攪拌(ban)翅(chi)的(de)攪拌(ban)方式(shi)以(yi)及原(yuan)(yuan)料的(de)粒度(du)(du)(du)和結構等。國內(nei)大都(dou)使(shi)用傳統式(shi)的(de)炒(chao)(chao)(chao)(chao)鍋(guo)(guo),構造簡(jian)單,熱效(xiao)率較低(di), 設備維護費用高,而且工作環境(jing)較差。現在炒鍋朝著大型化、連續出(chu)料、節能型方(fang)向發展。
1.2 回轉窯
回轉窯(yao)以(yi)高溫(wen)煙氣為熱源,煙氣和(he)物料可以(yi)直接(jie)(jie)接(jie)(jie)觸也可間接(jie)(jie)接(jie)(jie)觸。據原料硬(ying)度的不同,采用先磨(mo)后燒(shao)或先燒(shao)后磨(mo)的工藝。回轉窯能適應原料(liao)粒度的變(bian)化,運(yun)轉穩定(ding),可靠性(xing)高(gao)。但(dan)回轉(zhuan)窯占地面積(ji)較(jiao)大(da)、初投資較(jiao)大(da)、物料的溫度(du)不(bu)容(rong)易控制(zhi),煅(duan)燒的產(chan)品質量不容(rong)易控制(zhi),能耗(hao)也高。
1.3 彼得磨
彼得(de)磨的最(zui)大(da)優點是將粉(fen)磨煅燒一體(ti)化,煙氣(qi)與(yu)物(wu)料直接接觸,換熱強度(du)較(jiao)(jiao)高,設備(bei)比較(jiao)(jiao)簡(jian)潔(jie)緊湊,占地面(mian)積較(jiao)(jiao)小(xiao)。但(dan)缺(que)點是,對原(yuan)料品質(zhi)要求(qiu)較(jiao)(jiao)嚴,特別對原(yuan)料的雜質(zhi)含量(liang)和原(yuan)料的品位波動要求較嚴(yan)。原料中 SiO2、天然 CaSO4、Ca2CO3 等耐磨和(he)重質的成分含量必(bi)須控制在 3%以內(nei),否則將顯著(zhu)影響粉(fen)磨(mo)的煅燒粉(fen)磨(mo)和(he)分選效(xiao)率(lv),煅燒后(hou)產品的品質波動較大(da)。
1.4 高溫氣(qi)流煅燒機
高溫(wen)氣流煅燒(shao)(shao)機常用于粉狀石膏(gao)的煅燒(shao)(shao),具有設備緊湊(cou)、占地(di)面積較(jiao)(jiao)小、初(chu)投資較(jiao)(jiao)小等特點。高(gao)溫氣體與物(wu)料(liao)直接(jie)接(jie)觸瞬間換(huan)熱,換(huan)熱效率(lv)較(jiao)(jiao)高(gao)。但物(wu)料(liao)在設備中停留時間較(jiao)(jiao)短,系統的熱惰性(xing)較(jiao)(jiao)差,容易(yi)導致煅(duan)燒(shao)產品的性(xing)能波動較(jiao)(jiao)大,同時也存在排(pai)氣熱損失較(jiao)(jiao)大的缺(que)點,煅(duan)燒(shao)過程中物(wu)料(liao)易(yi)粘(zhan)壁、堵塞(sai), 影響系統的連續可靠運行。
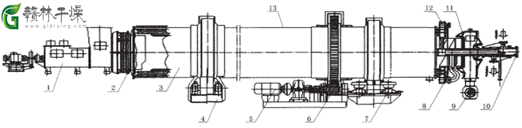
蒸汽回轉石膏煅燒機是大型設(she)備,質量(liang)大,結(jie)構復雜,由進料(liao)、密封、主體(ti)、支承、傳動、出(chu)料(liao)、蒸汽及冷(leng)凝水(shui)系統等13 部分組成。該(gai)機(ji)與常規回轉干(gan)燥機(ji)的(de)差別在于筒(tong)內安(an)置了(le)加熱(re)管,貫(guan)穿于整個干燥機,加熱管以同心圓方式排成 1~4 圈,干燥(zao)所需熱量絕大部分由加熱管(guan)提供,物料在干(gan)燥器內受到加熱管(guan)的(de)(de)升(sheng)舉和攪拌作用,傾斜(xie)度從干(gan)燥器的(de)(de)較高一端(duan)向較低一端(duan)移(yi)動,并從設在較低端(duan)的(de)(de)排(pai)料口排(pai)出(chu),汽(qi)化(hua)出(chu)的(de)(de)水分被載濕(shi)氣(qi)體帶出干燥機(ji)。蒸汽回轉石膏煅燒機(ji)組(zu)的組(zu)成如(ru)圖 5 所示(shi)。

1—混(hun)合(he)進料(liao)機(ji);2—進料密封;3—機體;4—托輪(lun);5—傳動;6—集中潤滑;7—擋(dang)托輪,8—不凝汽(qi)體排(pai)放;9—出料旋轉閥;10—汽軸;11—出料(liao)密封;12—汽(qi)室;13—機體保溫
國(guo)外(wai)采(cai)用蒸汽回轉石膏煅燒機煅燒石膏已(yi)在工業生產中(zhong)應用,煅燒(shao)產品具有(you)活性較好、制(zhi)品強度(du)高(gao)的(de)特點。而且用蒸汽或導熱(re)油作為熱(re)源(yuan),溫度(du)容(rong)易(yi)控制(zhi),煅燒(shao)產品的(de)品質容(rong)易(yi)得到保證。該工藝中,因煅燒(shao)石(shi)膏的(de)主要熱(re)量由加熱(re)管內(nei)的(de)蒸汽或(huo)者導熱(re)油(you)提供(gong),相對于空氣或(huo)者煙氣直(zhi)接與(yu)物料接觸換熱(re)的設備而言,系(xi)統的排氣熱損(sun)失大大降低(di).

石(shi)膏煅燒工序(xu)流程
粉磨車間(jian)的粉狀天然石膏與來自堆場的脫硫石膏混合(he)以(yi)后(hou),進入蒸汽(qi)回轉石(shi)膏煅(duan)燒(shao)機被(bei)加(jia)熱管加(jia)熱煅(duan)燒(shao),煅(duan)燒(shao)合(he)格的(de)半水石(shi)膏,由出(chu)料旋(xuan)轉閥(fa)排出(chu),然后(hou),由輸送設備輸送至冷卻系統。夾帶著少量粉塵(chen)的(de)廢氣,由布(bu)袋除塵(chen)器凈化后(hou),經(jing)引風機壓縮(suo)排空。來自(zi)蒸汽(qi)總管的飽(bao)和水蒸氣進入蒸汽(qi)回轉石膏(gao)煅燒(shao)機的(de)換(huan)熱管內,與(yu)物料換(huan)熱后凝(ning)結(jie)成水,靠(kao)蒸(zheng)汽的(de)自(zi)身(shen)壓力排出蒸(zheng)尾(wei)汽回轉至(zhi)石膏(gao)煅燒(shao)機,然后輸送至(zhi)冷凝(ning)水回水總管。
舉(ju)例***煅燒生產線于2018 年(nian)上(shang)半年(nian)投入生產運行(xing),在生產實踐中表現出了諸多的優點(dian),如(ru)設備(bei)運轉穩定、可靠(kao)性(xing)高(gao)、能耗(hao)低、操(cao)作(zuo)簡單方便、產品的質(zhi)量均勻(yun)穩定等。生產實踐(jian)中的系統運行參(can)數如下(xia):
1-產品(pin)的名(ming)稱及規格(ge):半水(shui)石膏粉(fen)料,產品(pin)細度不大于(yu)0.2 mm(約 80 目),堆積密度(du):880~950 kg/m3,終(zhong)水(shui)分(fen)(全(quan)部(bu)為結晶水):含濕量小于 6.2%,產量:43 000 kg/h。
2-原料名稱及規(gui)格:濕脫硫(liu)石膏堆積(ji)密度 1100 kg/m3,粒度分布不大于 0.2 mm,最(zui)大含濕量(表面水(shui))為12%,濕(shi)天然(ran)石膏堆積密度為 960~1280 kg/m3,粒度分布(bu)不大于(yu) 0.2 mm,最大含濕量(表面水)為(wei) 6%。
3 - 運行參(can)數:煅(duan)燒機進料(liao)溫度 15 ℃,排料溫度(du) 160 ℃,進風(feng)溫度 105 ℃,排風溫(wen)度 160 ℃,冷卻(que)機進風溫度 20 ℃,排風溫度 110 ℃,排料溫度 80 ℃,蒸(zheng)汽壓力 1.8 MPa。
4 - 煅燒后熟(shu)石膏粉(fen)的性能指標和相成(cheng)分組成(cheng)見表 2 。

從表 2 看出,煅燒后的熟石膏粉(fen)完(wan)全滿(man)足紙面石膏板生產線對所用石膏粉原料的要求,同時完全滿足(zu) GB 9776—88的要求。
4-總結
蒸(zheng)汽(qi)回轉(zhuan)石膏煅燒(shao)機(ji)以蒸(zheng)汽(qi)作為熱源煅燒(shao)天然石膏和脫硫石(shi)膏的混合(he)物(wu),熟石(shi)膏產量可(ke)高達 43 t/h,適(shi)合(he)大處理量工業化生產(chan)。
設備運轉平(ping)穩,可連續(xu)生產能力比較強。煅燒系統的(de)能耗較低,煅燒 1 t 石(shi)膏需要 0.3 t 蒸(zheng)汽。蒸(zheng)汽回(hui)轉石膏(gao)煅燒機容易(yi)實現石膏煅燒的(de)控制(zhi),調節蒸汽溫(wen)度和壓力就(jiu)能實現不同品位石膏煅燒的需要(yao)。
蒸汽回轉石(shi)(shi)膏煅燒(shao)機(ji)實現了天然(ran)石(shi)(shi)膏和脫硫石(shi)(shi)膏按照一定的比例關系(xi)煅燒出合(he)格的石(shi)膏粉。
以蒸(zheng)汽(qi)(qi)作為(wei)熱源(yuan)的蒸(zheng)汽(qi)(qi)回(hui)(hui)轉石(shi)膏煅燒(shao)機(ji)取(qu)得了成功,可以將研究擴大到以導(dao)熱油作為(wei)熱源(yuan)用蒸(zheng)汽(qi)(qi)回(hui)(hui)轉煅燒(shao)機(ji)煅燒(shao)石(shi)膏上。
今后(hou)的研究重(zhong)點應放在用于脫硫石膏的煅燒上,關鍵是解決脫硫石膏的粘壁(bi)和粘換(huan)熱管(guan)的問(wen)題。本系(xi)統為(wei)贛林干(gan)燥自主(zhu)研(yan)發的(de)開路系(xi)統,為(wei)進一步降低煅燒石膏的(de)能(neng)耗,贛林研(yan)發團隊將向半開(kai)路(lu)系統(tong)或者閉路(lu)系統(tong)用(yong)于石膏(gao)的煅燒邁進(jin)。